申請號:201620563310.9
申請人:南京三超新材料股份有限公司
發明人:鄒余耀 任賽智
摘要:本實用新型涉及金剛石線鋸生產設備技術領域,具體涉及一種金剛石線鋸上砂鈦管固定裝置。所述金剛石線鋸上砂鈦管固定裝置包括固定板,所述固定板的中心開設有便于金剛線穿過的穿線孔,所述固定板的側部開設有與所述穿線孔相連通的過線槽,所述固定板上位于所述穿線孔的周側開設有與鈦管的外徑相適配的穿管孔;所述固定板的底端面突出設置有與上砂塔頂端內周壁相適配的定位階臺,所述固定板的上端面突出設置有固定塊,所述固定塊周側開設有與所述穿管孔相對應連通的固定孔。本實用新型整體結構設計合理,安裝拆卸及操作使用方便,制作成本低廉。

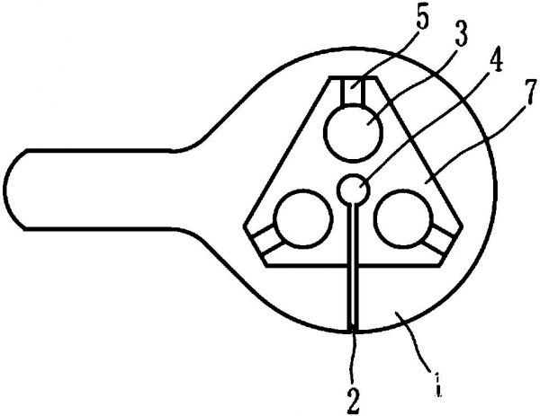
主權利要求:1.金剛石線鋸上砂鈦管固定裝置,安裝于上砂塔內,其特征在于:包括固定板(1),所述固定板(1)的中心開設有便于金剛線穿過的穿線孔(4),所述固定板(1)的側部開設有與所述穿線孔(4)相連通的過線槽(2),所述固定板(1)上位于所述穿線孔(4)的周側開設有與鈦管的外徑相適配的穿管孔(3);所述固定板(1)的底端面突出設置有與上砂塔頂端內周壁相適配的定位階臺(6),所述固定板(1)的上端面突出設置有固定塊(7),所述固定塊(7)周側開設有與所述穿管孔(3)相對應連通的固定孔(5)。
2.如權利要求1所述的金剛石線鋸上砂鈦管固定裝置,其特征在于:所述固定板(1)、固定塊(7)和定位階臺(6)為一體成型或固定連接結構。
3.如權利要求1所述的金剛石線鋸上砂鈦管固定裝置,其特征在于:所述固定塊(7)的端面呈多邊形結構。
4.如權利要求1所述的金剛石線鋸上砂鈦管固定裝置,其特征在于:所述固定板(1)上位于所述穿線孔(4)的周側開設有三個與鈦管的外徑相適配的穿管孔(3),且兩兩相鄰的所 述穿管孔(3)之間的間距相等。
5.如權利要求4所述的金剛石線鋸上砂鈦管固定裝置,其特征在于:所述過線槽(2)設置于其中兩個所述穿管孔(3)之間。
6.如權利要求1所述的金剛石線鋸上砂鈦管固定裝置,其特征在于:所述固定孔(5)為螺紋孔。
7.如權利要求1至6任一項所述的金剛石線鋸上砂鈦管固定裝置,其特征在于:所述固定板(1)、固定塊(7)和定位階臺(6)均由PP材料制成。